- Главная
-
Каталог
-
ОВЕН
-
Датчики
-
Преобразователи давления
-
блоки вентильные
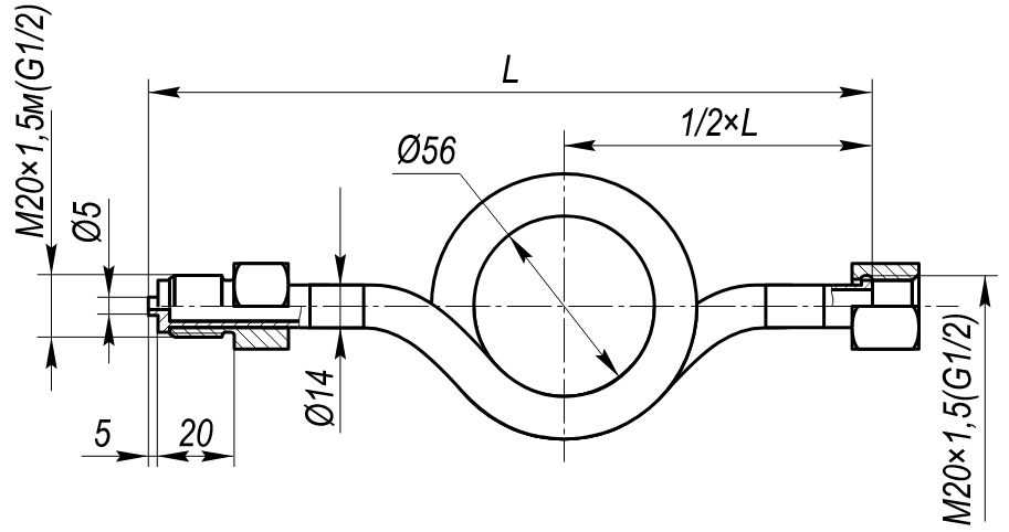
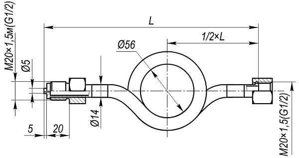
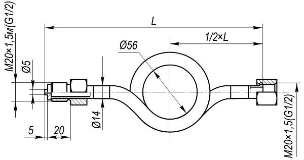
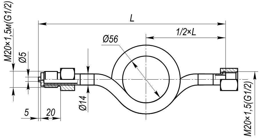
- Трубка отводная ТО-СП1-2.35.G1/2
Трубка отводная ТО-СП1-2.35.G1/2
Трубка отводная ТО-СП1-2.35.G1/2
Розничная цена
2439.6 руб
Способы оплаты:
Visa
MasterCard
Наличными при получении
Безналичная оплата
Характеристики
- Новинка:
Нет
- Акции:
Нет
- Вид изделия:
Трубка отводная
- Производитель:
Овен
- Артикул:
99939
- Спецпредложение:
Нет
- Габаритные размеры:
350 мм
- Материал:
сталь AISI304
описание
Трубка спиральная прямая
Материал: нерж. AISI304 (08х18н10)
Длина: 350 мм
Подключение к процессу: подвижный штуцер папа G1/2
Подключение к датчику: накидная гайка «мама» G1/2
Трубка отводная ТО-СП1-2.35.G1/2:
заказ осуществляется по предоплате